
Microsoft suggests the glasses could overlay statistics about sport
Work on digital glasses that overlay information on top of the user's view of the world has been carried out by Microsoft.
A patent applied for by the US tech firm, external describes how the eyewear could be used to bring up statistics over a wearer's view of a baseball game or details of characters in a play.
The newly-released document was filed in May 2011 and is highly detailed.
If a product comes to market it could challenge Google's Project Glass.
Google is planning to deliver its augmented reality glasses to developers early next year and then follow with a release to consumers in 2014.
Smaller firms - such as Vuzix, TTP and Explore Engage - are also working on or have released rival systems.

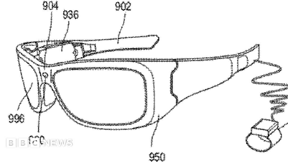
The patent suggests the glasses would be attached to a wrist-worn computer
Although some have questioned how many people would want to wear such devices, a recent report by Juniper Research indicated that the market for smart glasses and other next-generation wearable tech could be worth $1.5bn (£940m) by 2014 and would multiply over following years.
No missed moments
Microsoft's patent was filed by Kathryn Stone Perez, executive producer of the Xbox Incubation unit which earlier developed the Kinect sensor; and John Tardiff, an audio-video engineer who previously worked at Apple.
It notes that entertainment organisers often provide screens showing information to enhance audience's enjoyment of their events. But looking at these displays forces the user to turn their head away from the action - for example looking at the scoreboard at a baseball game, or translated lyrics at the side of the stage at an opera.
Microsoft suggests augmented reality headwear would avoid the risk of missing a key moment and also make it possible to see effects otherwise reserved for people watching on TV - for example a computer-drawn line superimposed over an American Football pitch showing the minimum 10-yard distance a team needs to advance the ball.
The patent suggests the key to making this work would be to vary the transparency of the glasses lens.

Lyrics could be shown next to an opera singer as an alternative to displays placed at the side of the stage
"[It would be] capable of generating display elements on various portions of a user's display while remaining portions of the head mounted display are transparent to allow the user to continue to view events or occurrences within the live event," it says.
"Other alternatives allow the display to become completely opaque, in order for the display to provide, for example, a display of a video such as an instant replay of the live event."
Anticipated events
Microsoft suggests a wrist-worn computer could be used to operate the device, or alternatively the user might control it through voice-commands and flicking their eyes to a certain spot.
It indicates that most of the processing work - identifying people and other objects in view, and deciding what information to show about them - would likely be carried out by remote computer servers in order to keep the equipment slimline.
The firm adds that many entertainment events follow a set course - such as a character always appearing at the same point in a play - and this could be used to ready information in advance to ensure it is brought up quickly.
Microsoft suggests a wide range of sensors would need to be built into the eyewear - including a microphone, video camera, gyroscope, eye gaze-trackers, infra-red detector and magnetometer as well as wi-fi and/or bluetooth connectivity - to provide the functionality it describes.

Vuzix plans to show off its new augmented reality smart glasses at a Las Vegas trade show in January
The document also describes some of the technologies it could license that have been developed by other firms, suggesting Microsoft has explored the possibility of putting its ideas into practice.
Nitin Bhas, senior analyst at Juniper research said he would not be surprised to see the the Windows-maker release a device over the coming years.
"We think smart glasses and other head-worn displays will be the next major form-factor for computing with adoption by consumers beginning around late-2014 to 2017," he told the BBC.
"The devices will help integrate technology into human life, making things like augmented reality more seamless than it is on smartphones at present.
"Compared to other devices we think the adoption rate will be low and price points high in the medium-term, but they will catch on eventually."
- Published14 November 2012
- Published12 September 2012
- Published16 May 2012
- Published28 June 2012